While the PS6 still has no release date nor official announcement, and could even be delayed according to the latest internal rumors, more and more information seems to be leaking about it. Sony’s upcoming console could very well be incredibly powerful, both in its components and in some of its features. A new patent filed by Sony thus raises questions about a very powerful technology. And the good news is that this technology could significantly improve gaming performance for the future console.
If you’re familiar with PC gaming, you’ve probably already heard of upscaling. The technology has become widespread in recent years with the release of Nvidia’s RTX cards. Named DLSS at Nvidia and FSR at AMD, the principle remains the same. In practical terms, it involves using artificial intelligence to improve the resolution of an image without any loss of performance, thanks to the use of an AI that somewhat alleviates the pressure on GPUs and CPUs a bit of a break. And the official patent filed by Sony that we’re talking about here could change everything for the PS6.
The PSSR technology could be revolutionary on the PS6
Upscaling technology isn’t currently as widespread on consoles as on PC. Sony’s PS5 Pro actually marked the first significant leap in this field for consoles, called PSSR. The technology has considerably improved over time thanks to its AI component and is now very efficiant in what it does. A patent filed by Sony, and spotted by Tech4Gamers, could even further improve it on the PS6, and potentially on a portable version of the Japanese manufacturer’s next-gen console.
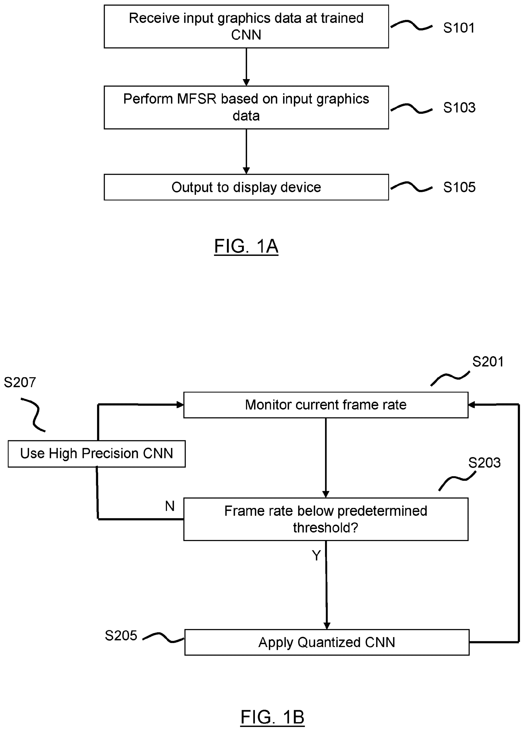
The patent page, accessible on WIPO’s website, is quite concise and mentions technical information that isn’t necessarily very clear to the general public. However, it suggests that PSSR 2.0, that might very well power the PS6 in the future, could analyze the load on the console’s graphics processor in real time and adjust the upscaling power accordingly while playing. For instance, when the console detects a more complex scene or a visually demanding sequence, it could lower the AI’s precision to improve the game’s framerate. The console is therefore given a bit of breathing room to achieve a higher frame rate before readjusting the level of detail when the game returns to normal.
This is a potentially very interesting new feature. It could reduce the load on the console while minimizing the need to lower a game’s initial resolution. With such technology, the PS6 could potentially be a true “4K at 120 frames per second” machine, as often promised for this generation of consoles, but to no avail. But its most interesting application would be for a possible PS6 Portable, which would then have no trouble running more demanding games thanks to PSSR 2.0. And that’s excellent news for both fans sedentary and nomad players.

Source : WIPO


The pssr 2.0 update is for ps5 pro, ps6 is still years away in 2029 bloomberg a reliable source has said this.
I Buy the New Hardware Sony PlayStation 6 next gen console powerfull newhardware teraflopsmonster release date officieel on day 1 of the officiële release date